Active

Listing Tools

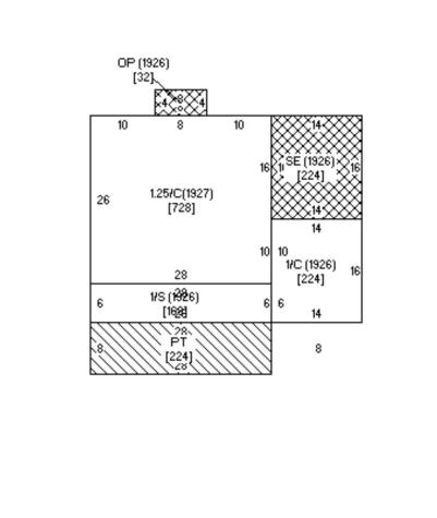
Pelican Lake - Major Real Estate. 225' level frontage, 1.47ACRES, 63,000 ft. of gorgeous lake shore. Key elements for the trained eye are found here, and they set the pace for an offering where the composition is in a class by itself. Huge level frontage, the most ideal grade, park-like grounds, tremendous depth to the lot and a dead-end location found in the sweetheart of all lake neighborhoods. Seven parcels, which include 3 lake front lots. Two cottages on the property, each approx 1,300 ft. and mid-1920's vintage; beautifully kept/updated. One detached garage (2019), 28'x32' & 9' door for larger boats, etc. North Shore, nostalgic and beloved, Senns Beach lends prolific hard sand lake bottom. 600 ft. stamped concrete patio by the water's edge; frontage is partial walk-in sand and partial rip-rap. The entire property has UGSS, sand point well (X2), drainfield/holding tank, two docks included. Property should be walked to be fully appreciated. Sold as one piece, the new Buyer could: have immediate use with extended family as it currently exists, split property or build new. 911 addresses also included: 22548 Senns & 22540 Senns. Short term CFD available.

Property Details of 22558 Senns Beach Drive

Interior Features

Exterior Features

Map Location

Listed by Monica Kaiser of Counselor Realty Detroit Lakes

  Based on information submitted to MLS Grid / NORTHSTAR as of December 11, 2025 5:08 AM EST . All data is deemed reliable but is not guaranteed accurate by the MLS. All information should be independently reviewed and verified for accuracy. IDX information is provided exclusively for consumers’ personal, noncommercial use and may not be used for any purpose other than to identify prospective properties consumers may be interested in purchasing.

Hi there! How can we help you?

Contact us using the form below or give us a call.

Send Us A Message:

I agree to receive marketing and customer service calls and text messages from Flom Property Group. To opt out, you can reply 'stop' at any time or click the unsubscribe link in the emails. Consent is not a condition of purchase. Msg/data rates may apply. Msg frequency varies. Privacy Policy.

Do not fill in this field:

This site is protected by reCAPTCHA and the Google Privacy Policy and Terms of Service apply.

Hi there! How can we help you?

Contact us using the form below or give us a call.

Send Us A Message:

Do not fill in this field:

This site is protected by reCAPTCHA and the Google Privacy Policy and Terms of Service apply.

Hi there! How can we help you?

Contact us using the form below or give us a call.

Send Us A Message:

Do not fill in this field:

This site is protected by reCAPTCHA and the Google Privacy Policy and Terms of Service apply.

Do not fill in this field:

This site is protected by reCAPTCHA and the Google Privacy Policy and Terms of Service apply.

Do not fill in this field:

This site is protected by reCAPTCHA and the Google Privacy Policy and Terms of Service apply.

Do not fill in this field:

This site is protected by reCAPTCHA and the Google Privacy Policy and Terms of Service apply.

$

Do not fill in this field:

This site is protected by reCAPTCHA and the Google Privacy Policy and Terms of Service apply.